[vc_row][vc_column][vc_column_text css=”.vc_custom_1633880941251{margin: 0px !important;padding: 12px !important;background-color: #dddddd !important;border: 2px initial #303030 !important;border-radius: 10px !important;}”]
به گفته متخصصان تعمیرات سافت استارتر به سه طریق می توان یک موتور را استارت زد؛ اول با اعمال ولتاژ بار کامل ولی در فواصل زمانی مشخص که به آن شروع مستقیم بر خط (on-line direct) گفته می شود. دوم اعمال ولتاژ کم شده که از طریق راه انداز نرم صورت می گیرد و روش سوم راه اندازی توسط ترانسفورماتور خودکار.
[/vc_column_text][vc_column_text]
برای آنکه بتوانیم تعمیرات سافت استارتر را به خوبی انجام دهیم، در ابتدا لازم است که این وسیله که راه انداز نرم نیز نامیده می شود، به خوبی بشناسیم.
شناسایی راه انداز نرم در فرآیند تعمیرات سافت استارتر
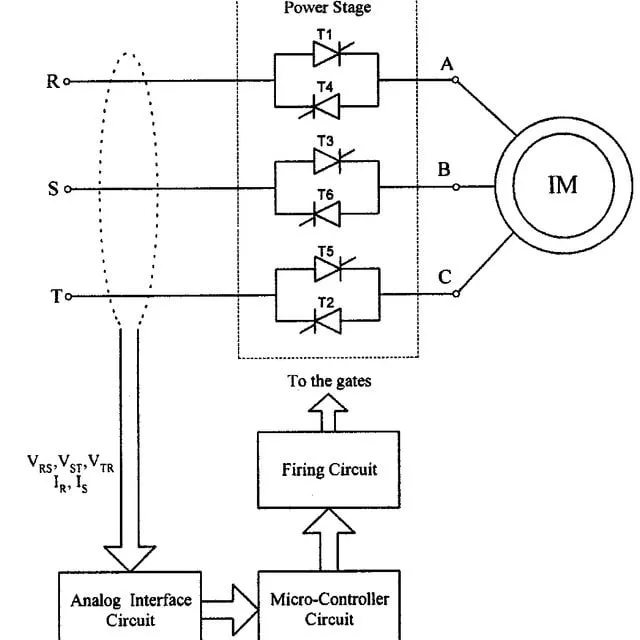
هر کدام از انواع راه انداز نرم دارای یک ساختار و کاربری مشترک با همه انواع این محصول هستند و هر یک ویژگی های مختص به خود را نیز دارا هستند که یک تکنسین زمانی می تواند در روند تعمیرات سافت استارتر موفق عمل کند که بتواند خصوصیات مشترک و همچنین خصوصیات ویژه هر راه انداز نرم را به خوبی بشناسد. برای آگاهی بیشتر در این زمینه می توانید به مقاله “تعمیرات درایو و سافت استارتر” مراجعه نمایید.
سافت استارتر یک وسیله الکتریکی است که دو نقش را برای ما ایفا می کند:
- این وسیله باعث می شود که موتورهای الکتریکی روند راه اندازی و توقف ملایم و بدون آسیبی را طی کنند.
- بتواند از موتور الکتریکی در برابر جریان های با ولتاژ بیش از حد و یا ولتاژهای پایین محافظت نماید.
دلیل نیاز موتور الکتریکی به تعمیرات سافت استارتر
اگر راه انداز نرم موتور خراب و معیوب شده باشد، باید در اسرع وقت آن را به تکنسین های تعمیرات سافت استارتر بسپارید، زیرا در غیر این صورت ممکن است موتور شما با عواقب خطیری مواجه شود. به دلیل آنکه موتورهای القائی هنگام راه اندازی و آغاز به کار جریان بسیار بالایی را می کشند و این جریان بالا می تواند نه تنها تجهیزات برقی موجود در این مسیر بلکه تجهیزات مکانیکی را دچار مخاطره نماید.
دلیل این امر آن است که امپدانس سیم پیچ های موتور که در حال توقف است، کم می باشد. یعنی مقاومتی که در برابر جریان الکتریکی دارند، پایین است و بنابراین جریان بالایی را به سوی موتور می کشند.
چگونگی عملکرد راه انداز نرم
اما به گفته متخصصان تعمیرات سافت استارتر کارکرد راه انداز نرم در برابر همین جریان بالایی است که در لحظه استارت به سمت موتور جذب می شود. در واقع راه انداز نرم با توجه به ساختار درونی خود (برای آشنایی با ساختمان این محصول می توانید به مقاله “یک راه انداز نرم چیست؟” مراجعه نمایید.) برای لحظاتی کوتاه شدت جریان اولیه را کاهش می دهد. همین امر باعث پیشگیری از صدماتی می گردد که به آن اشاره شد.
پس از به اتمام رسیدن لحظه راه اندازی و هنگامی که موتور به سرعت مورد نظر و سرعت معمول کارکرد خود برسد، آنگاه سافت استارتر اجازه می دهد که تغذیه قدرت موتور از سوی منبع اصلی از سر گرفته شود.
اولویت استفاده از راه انداز نرم
انجام تعمیرات سافت استارتر معمولا برای موتورهای با توان بالا استفاده می شود. زیرا این موتورها مقاومت کمتری دارند و جریان اولیه بیشتری از سوی منبع تغذیه به موتور واصل می شود. اما در مورد موتورهای کوچک تر که توان کمتری دارند، به دلیل آنکه مقاومت اولیه آن ها بالاست، بنابراین جریان هجومی بسیار بالایی به موتور در زمان استارت وارد نمی شود، پس نیازی به راه انداز نرم نخواهند داشت و بنابراین تعمیرات سافت استارتر نیز متمرکز بر این نوع موتورها نخواهد بود.
اما جریان هجومی در موتورهای الکتریکی بزرگ که توان زیادی دارند، در حدود چهار الی ده برابر جریان نامی موتور می باشد و می توان حدس زد که چنین جریانی چه آسیب هایی را می تواند به موتور وارد کند. در مقاله “ایراد فرکانس و تعمیرات سافت استارتر” می توانید با یکی از اشکالات پیش آمده از این طریق و روش حل و تعمیر آن آشنا گردید. همچنین جهت دریافت جزئیات بیشتر می توانید با کارشناسان و متخصصان ما در لیان الکتریک تماس حاصل نمایید.[button title=”تماس با ما” link=”https://www.lianelectric.com/%d8%aa%d9%85%d8%a7%d8%b3-%d8%a8%d8%a7-%d9%85%d8%a72/” target=”_blank” align=”” icon=”” icon_position=”” color=”blue” font_color=”” size=”2″ full_width=”1″ class=”” download=”” rel=””]
به همین جهت گفته می شود که تعمیرات سافت استارتر را حتما مورد لحاظ داشته باشید که معیوب بودن راه انداز نرم باعث خرابی موتور و تجهیزات جانبی آن نگردد. البته می توان از روش های دیگری غیر از راه انداز نرم برای کنترل جریان هجومی اولیه به الکتروموتورها استفاده کرد که دو نمونه از آن ها عبارتند از:
- روش ستاره مثلث
- استفاده از درایو کنترل دور صنعتی یا اینورتر
سوالات متداول
- آیا تعمیرات سافت استارتر بر روی همه انواع موتورها انجام می شود؟
پاسخ: هر جایی که از راه انداز نرم استفاده شده باشد، خدمات تعمیر آن نیز ارائه می گردد. اما لازم است دقت داشته باشید که تنها در نوع خاصی از موتورها معمولا از راه انداز نرم استفاده می شود که موتورهای سه فاز القائی می باشند. به این نوع از موتورها، موتورهای قفس سنجابی نیز گفته می شود.
- راه اندازی موتور به چه روش هایی انجام پذیر است؟
پاسخ: به گفته متخصصان تعمیرات سافت استارتر به سه طریق می توان یک موتور را استارت زد؛ اول با اعمال ولتاژ بار کامل ولی در فواصل زمانی مشخص که به آن شروع مستقیم بر خط (on-line direct) گفته می شود. دوم اعمال ولتاژ کم شده که از طریق راه انداز نرم صورت می گیرد و روش سوم راه اندازی توسط ترانسفورماتور خودکار.
- چرا تعمیرات سافت استارتر ضرورت دارد؟
پاسخ: به دلیل آنکه جریان هجومی حدود چهار الی ده برابر جریان نامی موتور است که در لحظه استارت به آن اعمال می شود و می تواند آن را دچار صدمه و آسیب نماید.
برای آشنایی بیشتر با شیوه های اعمال تعمیر راه انداز نرم می توانید به صفحه تعمیرات سافت استارتر لیان الکتریک مراجعه نمایید.[call_to_action title=”” icon=”icon-lamp” link=”https://www.lianelectric.com/%d8%aa%d8%b9%d9%85%db%8c%d8%b1%d8%a7%d8%aa-%d8%b3%d8%a7%d9%81%d8%aa-%d8%a7%d8%b3%d8%aa%d8%a7%d8%b1%d8%aa%d8%b1-2/” button_title=”تعمیرات سافت استارتر لیان الکتریک ” class=”” target=”_blank” animate=””][/call_to_action]
[/vc_column_text][/vc_column][/vc_row]


بدون دیدگاه